«Дело дальше патента никуда не сдвинулось»
Казанские ученые придумали мобильную снегоплавильную установку, но денег на реализацию проекта нет

Как выяснило «Реальное время», ученые КНИТУ-КАИ разработали мобильную снегоплавильную установку. Изобретение уже даже запатентовали, но на реализацию проекта изобретатели не могут получить деньги, поэтому дальше чертежей и макетов дело не идет. Подробности — в материале издания.
Установка должна помочь коммунальщикам лучше убирать снег
Создателями снегоплавильной установки стали преподаватели из КНИТУ-КАИ Идгай Мингазетдинов, Юлия Тунакова, Римма Шипилова и Сергей Якунин. Разработка была запатентована в 2021 году. Однако статус патента установка может потерять уже в этом году.
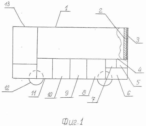
В проектной документации, которая есть в распоряжении «Реального времени», указано, что установка относится к оборудованию для очистки улиц, дорог и внутридомовых площадок от снега, она может найти применение в коммунальном хозяйстве городов и населенных пунктов, на транспортных и промышленных предприятиях. Изобретение ученых состоит из снегоплавильной камеры с термопанелью и термоизоляцией по внешнему корпусу, двухступенчатого гидроциклона-окислителя и гидронасоса с электроприводом. Установка также включает источник питания, ходовую часть, съемную решетку, блок управления с датчиком уровня жидкости, патрубки отвода шлама, пены и чистой воды.

Использование изобретения позволяет повысить качество очистки собираемых снеговых масс, повысить эффективность и экономичность процесса очистки улиц от снега. Плавильная установка работает следующим образом: в нее загружается грязный снег, там он проходит несколько ступеней очистки и выходит в виде воды, которую можно также проверить.
Нужны деньги, которых нет
«Реальное время» поговорило с одним из создателей проекта — кандидатом технических наук, доцентом кафедры экологии КНИТУ-КАИ Идгаем Мингазетдиновым. Он рассказал, что их разработка может не только плавить снег, но еще и дает возможность анализировать степень загрязненности атмосферы. С помощью изобретения можно проводить диагностику уровня загрязнения целых районов города.

— Станция совсем небольшая, она 1,5 метра в длину и 1,2 метра в высоту. Есть ручка и колеса, чтобы было удобно перевозить. Не имеет смысла делать ее больших габаритов, потому что она должна быть мобильна и давать возможность работать в стесненных городских условиях. Для работы на больших автострадах она не подходит. Над разработкой установки работали продолжительное время, сначала создавали один элемент, потом другой, — объяснил Мингазетдинов.
Ученый подчеркнул: прежде чем приступить к созданию того или иного проекта, нужно сначала изучить вопрос необходимости в нем. Далее выбираются аналоги изобретения, хотя бы похожие, а из них уже рассматривается прототип. После его изучения, изобретатели находят у прототипа слабые стороны и просто их улучшают либо привносят какие-то свои обновления. Именно таким принципом руководствовался Мингазетдинов и его коллеги при создании снегоплавильной установки. Автор проекта добавил, что ее стоимость не превышает цены современного холодильника или стиральной машины.

— У меня уже больше сотни изобретений, а патентовладельцем их является КАИ. Во-первых, когда подается заявка на патентную проработку и оформление документов, нужно заплатить 3,5 тысячи рублей... Но дело дальше патента никуда не сдвинулось. А ведь это я должен задавать вопросы, почему установка нигде не внедряется. Одно дело, когда на предприятие приходит ректор или проректор с предложением по сотрудничеству, другое дело, когда туда приходит просто преподаватель. Голова должна болеть у руководства вуза, а не у меня. Пока получается наоборот, — признается собеседник «Реального времени».
В заключение Идгай Мингазетдинов сообщил, что установка есть только на бумаге, чтобы она появилась на свет, нужно сначала сделать ее экспериментальную версию, а на это нужны деньги, которых нет. Как говорит ученый, об этом проекте он регулярно рассказывает на конференциях, выступает с различными с докладами, но дальше этого дело не идет.
— Когда-то в Казань приезжала председатель Совета Федерации Валентина Матвиенко, она приводила статистику, согласно которой оказалось, что в Германии внедрений патентов примерно 17%. А в России внедрение патентов недотягивает до 3%. Там предприятия охотятся за изобретениями, а здесь нет, — посетовал профессор.
Жалобы на уборку снега в Казани поступают регулярно
Как писало «Реальное время», по итогам этой зимы власти Казани оценили уборку улиц города лишь на удовлетворительную оценку. В феврале этого года замруководителя исполкома города по благоустройству Игорь Куляжев отчитывался о том, что за зимний период из города вывезли 938 тысяч тонн снега на 7 стационарных снегоплавильных пунктов.

Более активной работе по вывозу снега мешала переменчивая погода. В первую очередь были проблемы с уборкой тротуаров: неубранный вовремя снег плюс зимние дожди превращали их в каток. Кроме этого, Куляжев в очередной раз пожаловался на нехватку рабочих рук. По его словам, этой зимой на одного уборщика приходилось по 10 улиц. Потребность в городских дворниках составляла 700 человек.